≡
Open menu
Home
Files Area
Add files to the server
News
Latest
Previous
Archived news
Links
Link Submission
HELP
Upload Problems
Login/Register problems
HowTo
Usage
About
Contact me
Terms and Conditions
My Profile
You are here:
Home
Files Area
Thank you for downloading LDM815 schematic
If your download does not start automatically after a few seconds, please click on the Download link
Back to
Main Repository Page
›
ELECTRONICS
›
Test Equipment
›
LEADER
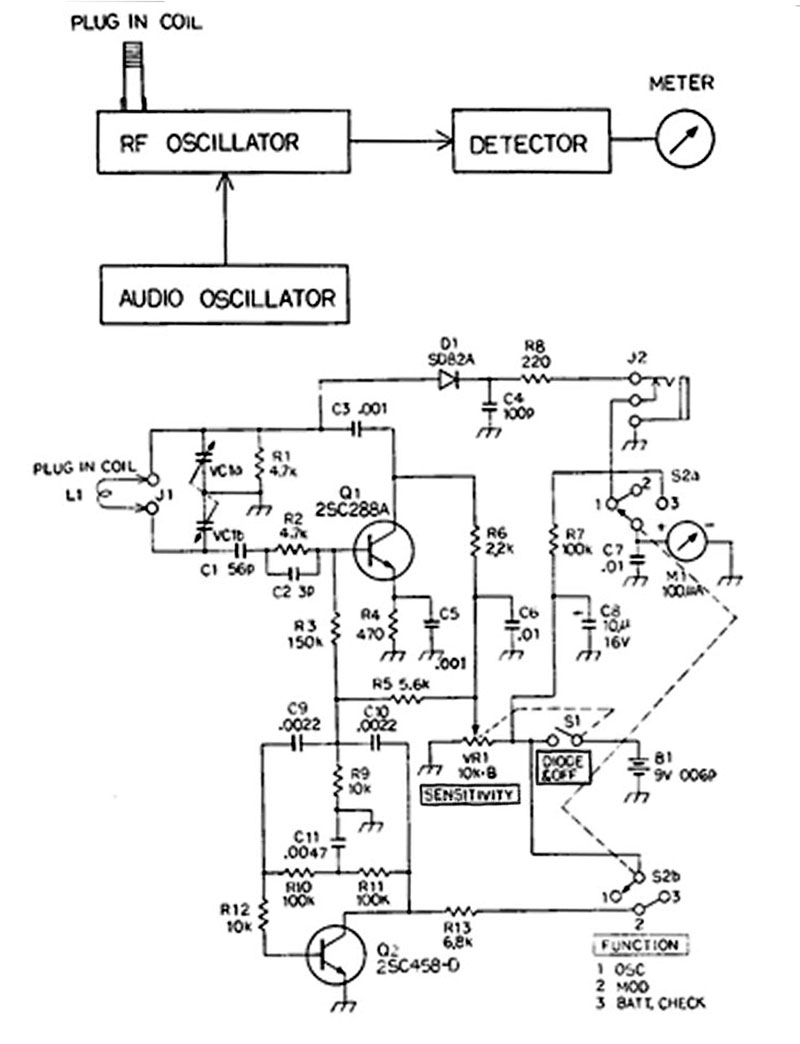
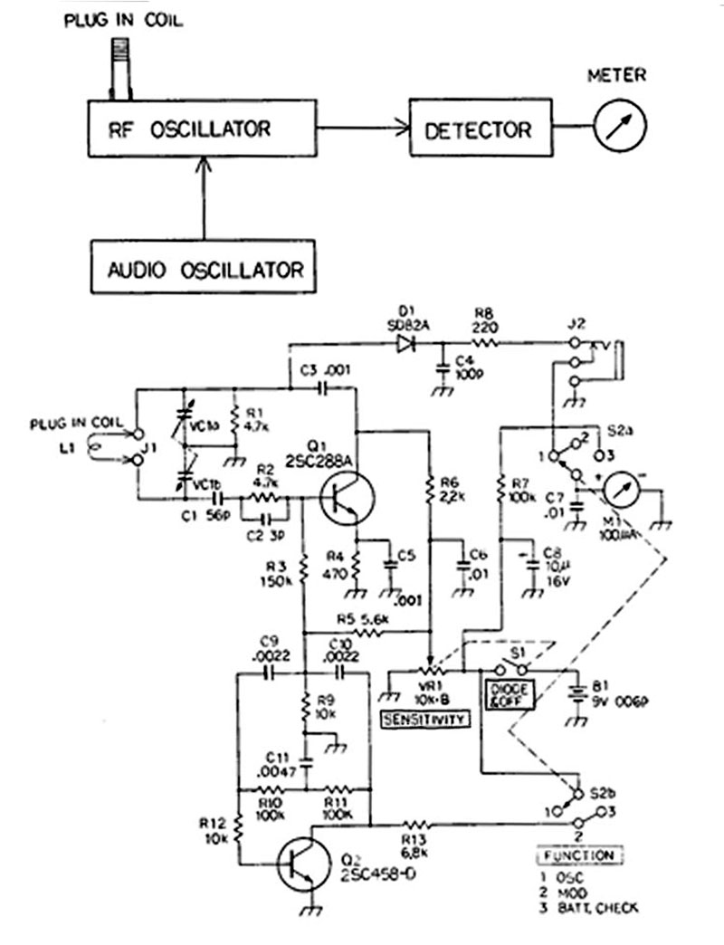
LDM815 schematic
Download
Submitted By:
Raffaele Zignale (raf61)
Submitted On:
2010 08 27
File Size
73.58 Kb
Downloads:
53
File Author:
Raffaele Zignale
File Rating
(0/0)
Log in to cast your vote
Be the first to comment! Please sign in or register.
×
Login Form
Username
Password
Show Password
Remember Me
Sign in with a passkey
Log in
Forgot your password?
Forgot your username?
Create an account
Latest Uploads
Elektronik-Digitala-kretsar
IT-1121 transistor tester manual
LEADER LF827 FREQUENCY COUNTER SERVICE MANUAL
LEADER LF827 FREQUENCY COUNTER
Sylvania Deluxe Polymeter Type 302 Operating Manual, PN-89